Dans le monde de l'artisanat, de la mécanique et de la maintenance, la précision et l'efficacité sont primordiales. Le couple appliqué lors du serrage ou du desserrage de fixations est un détail qui compte, et pour garantir un travail de qualité, disposer des bons outils est indispensable. Parmi ces outils, la clé à cliquet réversible s'est imposée comme un élément incontournable, offrant une solution pratique et rapide pour une multitude d'applications. Que ce soit dans des espaces exigus, pour des tâches répétitives ou lors de travaux en hauteur, une clé à cliquet fiable permet de gagner un temps précieux, de réduire le stress et d'économiser l'effort.

Une clé à cliquet, également appelée clé à douille ou cliquet à main réversible, est un outil à main conçu pour tourner des fixations telles que des boulons et des écrous. Elle se distingue des clés traditionnelles par son mécanisme interne qui permet de serrer ou de desserrer une fixation sans avoir à retirer l'outil de la pièce après chaque mouvement. Le corps de la clé se compose d'une poignée, d'un mécanisme à cliquet intégré et d'un carré d'entraînement auquel sont fixées des douilles interchangeables adaptées à la taille de l'écrou ou du boulon. Ce mécanisme ingénieux rend l'outil particulièrement pratique au quotidien, facilitant grandement le vissage et le dévissage. Elle peut être considérée comme une version bien plus pratique de la clé à pipe traditionnelle.
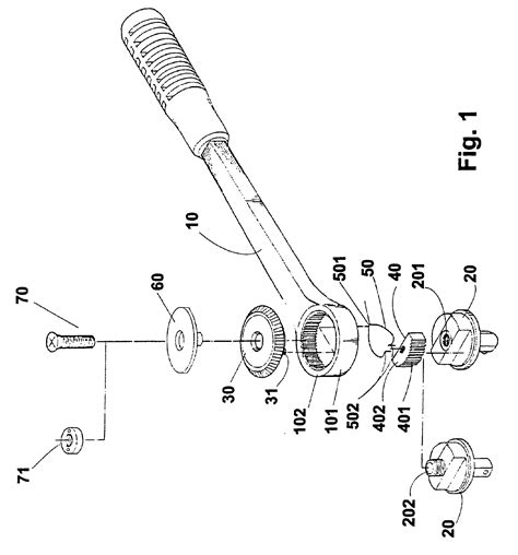
Au cœur de la fonctionnalité de la clé à cliquet se trouve son mécanisme interne. Ce mécanisme est conçu pour permettre un mouvement dans une seule direction de rotation, c'est-à-dire que lorsque la poignée est tournée dans une direction spécifique, le levier à cliquet s'enclenche sur les dents d'une roue dentée interne, entraînant ainsi la douille et, par conséquent, la fixation. Lorsque la poignée est tournée dans la direction opposée, le levier glisse sur les dents de la roue dentée sans les engager, permettant ainsi à l'utilisateur de repositionner l'outil sur la fixation sans la retirer complètement.
Un des aspects les plus pratiques du cliquet est sa capacité à changer de sens de rotation sans avoir à changer son positionnement sur la pièce. Un petit levier ou une bague, généralement situé près de la tête de l’outil, permet de basculer entre les modes de serrage et de desserrage. Cette fonctionnalité de réversibilité est particulièrement utile lors de travaux nécessitant une alternance rapide entre ces deux mouvements, offrant une flexibilité accrue pour différentes opérations. Le mécanisme à cliquet est souvent constitué d'une roue dentée et d'un levier à cliquet qui s'engage sur les dents de cette roue.
Dans les modèles les plus performants, le mécanisme à cliquet peut comporter un nombre élevé de dents, par exemple 72 dents. Un plus grand nombre de dents permet des incréments plus petits dans le mouvement de rotation, ce qui est particulièrement utile lorsque l'espace pour manœuvrer est limité. Un cliquet à 72 dents offre une rotation plus fluide et une plus grande précision de serrage par rapport à un cliquet à moins de dents, comme un modèle à 36 dents. Chaque pas, dans un cliquet à 72 dents, correspond à un angle de 5 degrés, permettant un mouvement de rotation plus fin et plus contrôlé. Une came intégrée au mécanisme permet de modifier le sens de rotation, offrant ainsi la réversibilité.

L'adoption de la clé à cliquet présente de nombreux avantages par rapport à l'utilisation de clés standards :
Le marché propose une variété de clés à cliquet, chacune conçue pour répondre à des besoins spécifiques :
La qualité des matériaux et la conception d'une clé à cliquet sont primordiales pour assurer sa durabilité et ses performances. Les clés de qualité supérieure sont généralement fabriquées en acier chrome-vanadium ou en acier chrome-molybdène. Ces alliages sont réputés pour leur robustesse, leur résistance à l'usure, à la corrosion et leur capacité à supporter des contraintes mécaniques élevées sans se déformer ou se casser. L'acier chrome-vanadium, souvent reconnaissable à sa finition argentée, confère à l'outil une grande solidité et longévité. L'acier chrome-molybdène, souvent de couleur noire, offre une résistance encore accrue et est fréquemment utilisé pour les outils soumis à des contraintes extrêmes.
Les procédés de fabrication jouent également un rôle crucial. Le forgeage en une seule pièce, suivi d'un durcissement par traitement thermique et d'un traitement de surface (comme le chromage), confère à la clé une élasticité qui empêche la casse pendant l'utilisation et une résistance accrue à l'oxydation et à la corrosion. Une finition par chromage satiné mat, par exemple, permet de combattre efficacement la rouille et d'offrir une surface antidérapante. Les têtes polies améliorent l'esthétique et la précision de l'ajustement.
Les mâchoires en étoile, souvent rencontrées sur les clés mixtes ou doubles, sont conçues avec une forme qui maximise le contact avec les côtés de l'écrou ou du boulon. Les 12 bords arrondis des mâchoires en étoile garantissent une meilleure prise et réduisent le risque d'endommager la fixation. Chaque mâchoire en étoile peut être compatible avec deux mesures de réglage différentes, offrant ainsi une polyvalence "4 en 1" par outil.
La conception de la tête est également importante. Une tête polie et une finition satinée mate sont souvent le signe d'une fabrication soignée. Les procédés de fabrication avancés peuvent conférer à la clé une capacité de serrage supérieure aux normes industrielles établies, comme la norme DIN 3113, garantissant ainsi une sécurité optimale et une longue durée de vie.
Pour garantir la longévité et l'efficacité de votre clé à cliquet, quelques bonnes pratiques sont à observer :
Bien que la clé à cliquet moderne soit une invention relativement récente, ses origines remontent à des besoins anciens de manipulation des fixations métalliques. Les premières formes de clés peuvent être retracées à l'époque romaine. Le développement des clés ajustables, au début du XIXe siècle, avec l'invention de la clé à molette par Johan Petter Johansson en 1891, fut une étape majeure, permettant de serrer différentes tailles de boulons avec un seul outil. Cependant, ces clés n'intégraient pas le mécanisme à cliquet qui permet un travail plus rapide.
C'est dans la première moitié du XXe siècle que le cliquet tel que nous le connaissons aujourd'hui a véritablement émergé. L'innovation clé fut l'intégration d'un mécanisme à roue dentée permettant un mouvement alterné sans repositionnement. Louis LORENT, né en 1882, est crédité de l'invention et de la commercialisation de la clé à cliquet ou clé à douille en France, déposant un brevet en 1925 sous le nom de "clé à écrou LORENT-NANQUETTE". Parallèlement, l'entreprise américaine Snap-on a joué un rôle crucial dans la commercialisation et la standardisation du cliquet, introduisant un système de douilles interchangeables.
Au fil du temps, le mécanisme à cliquet s'est perfectionné. L'augmentation du nombre de dents sur la roue crantée, passant de modèles moins précis à des cliquets de 72, voire 100 dents, a permis des mouvements plus fluides et des incréments plus petits. L'outil s'est également diversifié pour répondre aux besoins spécifiques des utilisateurs, avec l'apparition de cliquets à percussion dans les années 1980, puis de versions motorisées sur batterie. Les matériaux ont également évolué, avec l'adoption généralisée des aciers chrome-vanadium et chrome-molybdène pour une meilleure résistance. Les avancées technologiques modernes ont même vu l'intégration de capteurs électroniques pour mesurer le couple appliqué, faisant du cliquet un outil toujours plus sophistiqué.
Malgré toutes ces évolutions, le principe de base du cliquet - un mouvement alterné efficace pour gagner du temps et réduire l'effort - reste fidèle à son concept originel. Que ce soit pour un professionnel aguerri ou un amateur de bricolage, le cliquet demeure un compagnon indispensable dans toute boîte à outils, témoignant de l'ingéniosité humaine dans la création d'outils toujours plus performants et adaptés aux défis du travail.
tags: #cle #a #cliquet #reversible